NYHET
Nikon patenterar hybridsensor med både global & rullande slutare

Med den nya sensortekniken vill Nikon kombinera det bästa från två olika sensorutläsningstekniker.
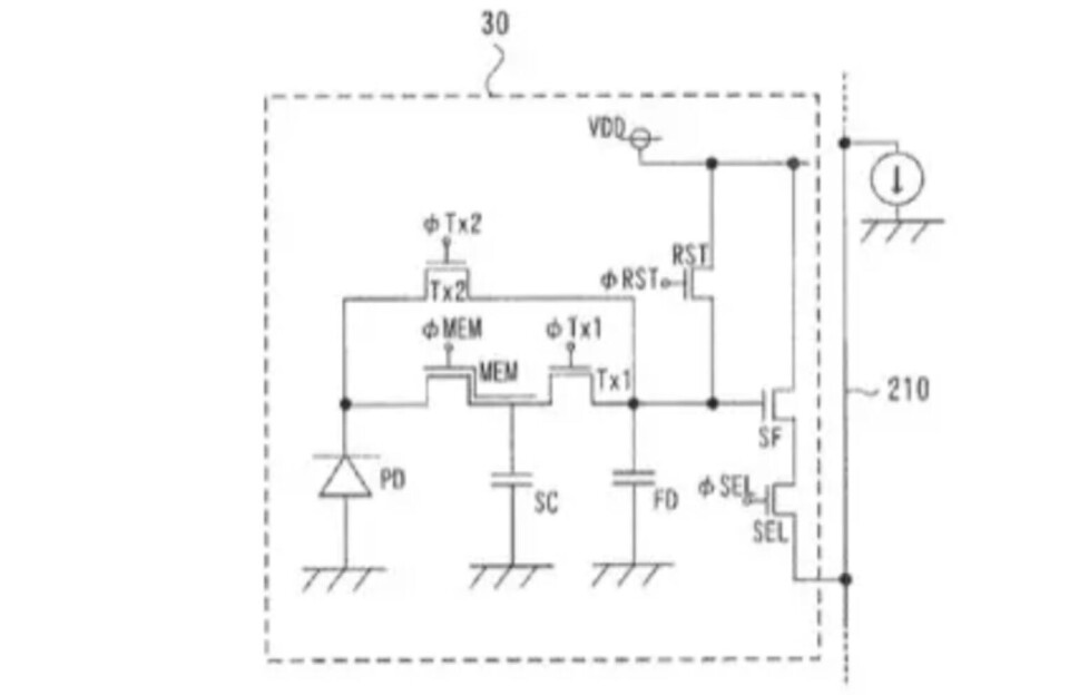
Nikon har under september lämnat in en patentansökan på en ny typ av hybridsensor som dra fördel av dagens två olika sensortekniker för utläsning, i samma enhet, genom användningen av två olika ledningsvägar för respektive teknik.
Kamera & Bild har tidigare skrivit ingående kring tekniken för hur både en klassisk bildsensor med en så kallad rullande slutare och radvis utläsning av sensordata fungerar, liksom hur den senaste tekniken med global slutare fungerar för att läsa ut all sensorinformation på en och samma gång.

Nu har Nikon hittat en väg att kombinera båda utläsningsteknikerna för att eventuellt låta fotografen själv, eller kameran, att kunna avgöra vilken teknik som är bäst att använda i fotoögonblicket. Bland annat har de dubbla signalvägarna i sensorarkitekturen möjlighet att växla mellan radvis utläsning, vilket innebär fördelar som högre ISO-prestanda och förbättrat dynamiskt omgång – samt nackdelar med så kallad jello-effekt genom "rolling shutter" vid filmning och flimrande LED-skyltar.
Sensorer med inbyggd global slutare har precis motsatsen: en något sämre ISO-prestanda och lägre dynamiskt omfång, men fördelar med obefintlig rolling shutter och inga problem med flimrande LED-skyltar.
Någon ytterligare information om hur, när eller om tekniken kommer att utvecklas eller användas i produkter finns inte.